Главная → Все категории → Оборудование → Принтер для маркировки труб полиэтиленовых ПМТ-1
Принтер для нанесения маркировки на трубы полиэтиленовые диметром от 20 до 315 мм водо- и газоснабжения.
| Интервал маркировки, мм | ~ 980 |
| Шрифт | На заказ |
| Длинна надписи | 100º по Ø 300 мм |
| Напряжение тока | 220 В, 50 Гц |
| Напряжение тока нагревательного элемента, В | 36 |
| Температура нагревания шрифта | Регулируется БПРТ |
| Температура окружающей среды, ºС | +5 |
| Масса, кг | 30 |
| Габаритные размеры, мм | ~ 400 х 700 х 1000 |
Особенные отметки:
1. Рабочее положение устройства в линии изготовления труб находится между механизмом протяжки труб и последней ванной охлаждения с левой стороны линии в направлении движения трубы.
2. Не разрешается попадание воды на блок питания.
3. Монтажное положение маркиратора: через четыре отверстия на подставке продукции.
Шрифт – изготовляется за отдельным заказом потребителя, согласно с конструкторской документацией производителя.
| Обод | Сталь 3 или 10; 20 |
| Диск | Текстолит |
| Шрифт | Латунь ЛС-59 |
| Сектор | Алюминий |
| Стойка | Сталь 3 или 10; 20 |
| Катушка | Алюминий АМцП |
Комплектность:
• Принтер маркировочный - 1 шт;
• Шрифт - по заказу;
• Блок питания – БПРТ - 1 шт;
• Ролик для труб - Ø20 (Ø25, Ø32, Ø63) - 1 шт.
• Паспорт с техническим описанием и инструкцией по эксплуатации - 1 шт.
Принцип работы:
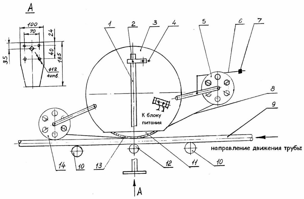
а) Конструкция маркировщика труб показана на рисунке 1. Габаритные размеры согласно конструкторской документации. Размеры крепежа показаны на рисунке 1А. Монтаж на линии согласно с рисунком 1.
б) Элементы управления показаны на рисунке 2.
в) Порядок подключения:
• Вставить двухполосную вилку нагревателя в гнездо «Нагрузка»
• Вставить штекер в отверстие разьеденителя «Датчик»
• Вилку блока питания подсоединить к сети питания 220В (50Гц)
• Включить тумблер в положение «Вкл», при этом должна загореться лампочка красного цвета «Сеть», а также лампочка зеленого цвета «Нагрев» (разогрев сектора начинается через 5 минут).

Рис. 1. Конструкция маркировщика труб.
Рис. 2. Элементы управления.
Меры безопасности:
• Запрещается открывать крышки диска мест подключения датчика и нагревателя при включенном принтере в сеть 220В
• Запрещается менять шрифт во время прогрева маркировщика, что может привести к ожогам. Замена производится в холодном состоянии шрифта и выключенном приборе.
• Работы с техническим обслуживанием производятся только при отключении от сети 220В.
• Запрещается монтаж маркировщика на линии изготовления труб со стороны противоположной указанной на рис. 1.
Нарушение этого требования может привести к заклиниванию трубы между ободом и рамками, что направляют движение трубы, а также к поломке маркировочного оборудования и механизма протяжки рубы.
Подготовка принтера к работе:
1) Смонтировать маркировщик на линии изготовления труб на подставке согласно рисунку 1А.
Примечание: Подставка изготовляется потребителем с местами крепления и регулирования по высоте необходимой в лини потребителя, а также обеспечения веса подставки, что позволяет удерживать маркировочное оборудование от произвольного перемещения с фиксированного положения при вибрациях и толчках.
2) Порядок проведения работ с маркировки труб:
• Установить ПМТ-1 на фиксированное положение линии изготовления труб согласно рисунку 1.
• Закрепить в секторе шрифт в необходимом наборе для маркировки данного типа трубы, согласно с нормативной документацией.
• Включить маркировщик за пунктом 6.в.
• Вставить ленту маркировочную на катушку подачи 5, конец ленты провести в паз обода 13, вывести, закрепить на катушке 14
• Отпустить 4 болта ползуна 2 и осторожно опустить диск 3 на трубу так, чтобы диск котился по трубе в положении зависания на оси 4, при этом катушка 14 оборачивается на своей оси только в то время, когда маркировочная лента продвигается за счет прижима её к поверхности трубы шрифтом.
Примечание: скорость движения ленты и вращения катушки 14 синхронизируется за счет коромысла выбора петли ленты. После окончания контакта ленты со шрифтом, коромысло выбора петли опускается к низу, а лента натягивается без подачи на катушку 14 , которая за счет проскальзывания по трубе останавливается натяжением ленты и удерживается от сматывания с катушки 5 тормозным рычагом 6, давление рычага на ленту катушки 5 регулируется грузом 7.
После установления систем торможения движения ленты в режиме маркировки и проскальзывания при выходе сектора со шрифтом из зоны контакта с трубой, настроить четкий оттиск надписи на трубе за счет смещения оси маркировочного прибора с осью движения трубы в линии и путем изменения температуры шрифтов регулировкой на блоке питания.
3) Сигналом окончания нагрева шрифтов служит угасание лампочки зеленого цвета «Нагрев» блока питания. При охлаждении шрифта, в зависимости от выставленной температуры, включается его нагревание, о чем сигнализирует лампочка «Нагрев». Внимание! Примечание: глубина отпечатка надписи на трубе не должна превышать 0,2 мм.
Техническое обслуживание:
1) Во время эксплуатации необходимо проверять плавность оборота диска на оси подшипника и плавность перемещения по вертикальной стойке.
2) В случае нарушения плавности вращения диска проверить присутствие смазки блока подшипников и необходимость её замены, проверить рабочее состояние подшипников, при необходимости заменить подшипники.
3) При отсутствии нагревания сектора шрифтов заменить тепловой элемент путем отключения датчика и нагревателя с последующим демонтажем сектора и заменой теплового элемента нагревания.
4) Контролировать баланс тормозных грузов в системе движения ленты маркировочного оборудования путем их размещения в необходимых точках коромысел.
5) Рекомендуется периодически осматривать маркировщик и результаты осмотра заносить в журнал.
Паспорт с техническим описанием и инструкцией по эксплуатации